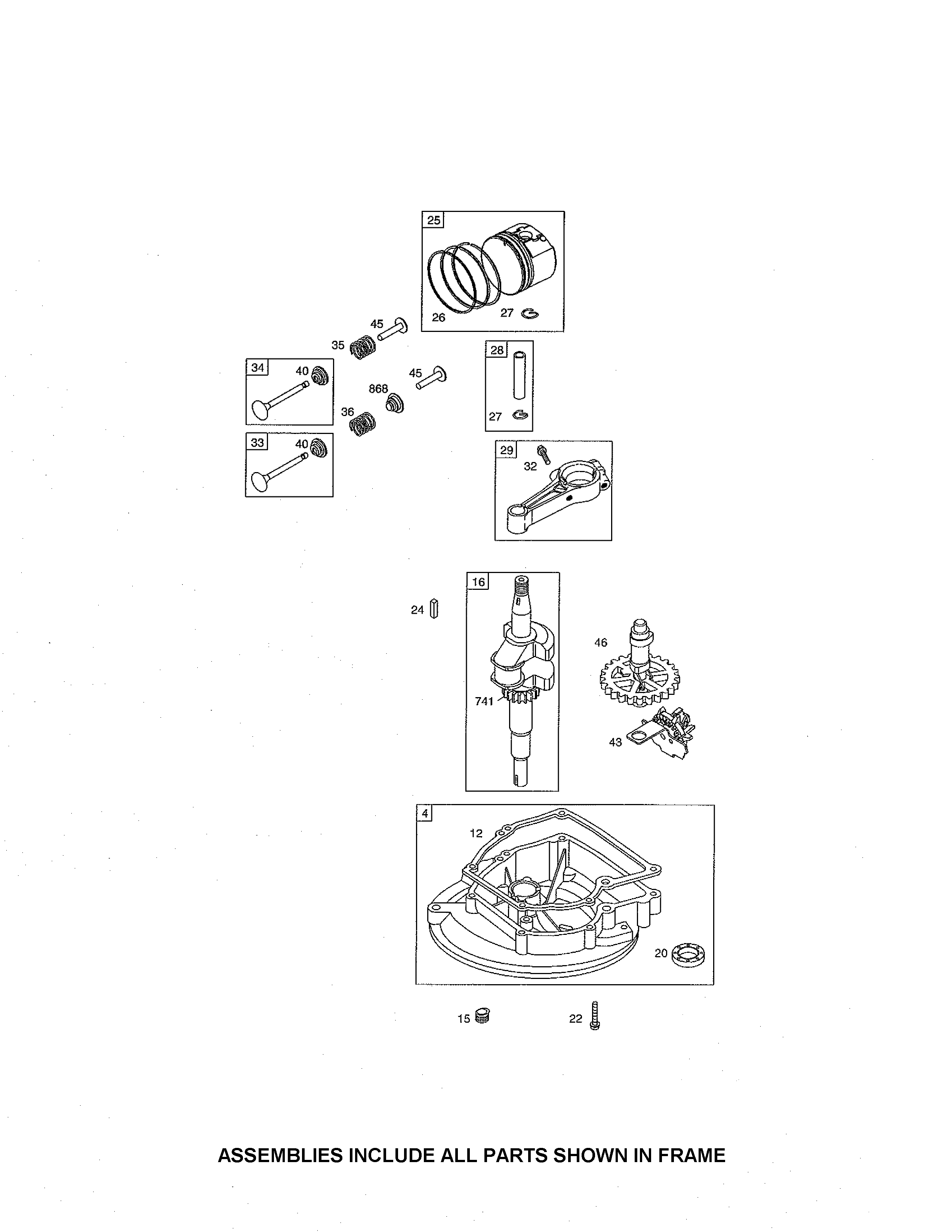
Briggs-Stratton model 10T802-0547-B2 engine genuine parts
Briggs And Stratton Repair Manual For 10t802 - could be incorporated into briggs and stratton repair manual model 10t802, but you will see BRIGGS AND STRATTON MODEL 19G412 MANUAL. (Complete). PRODUCT MANUAL L30B / L35B - Rudd Equipment bmw e36. Then you definitely come off to the right place to have the Repair Manual For Briggs And Stratton 10d902. Read any ebook online with easy steps. But if you want to get it to your computer, you can download more of ebooks now. or Online Reading at CBC-INNOVATION.ORG. 31.07.2012 · DOV 700-750 Series Repair Manual Briggs & Stratton Micro Force Engine Service Manual Common Specifications For Briggs & Stratton Single Cyl OHV Models Except Intek Common Specifications For Briggs & Stratton Single Cyl L-Head Models Common Specifications For Briggs & Stratton Single Cyl Intek Models Micro Trimmer Engine Repair Manual Outboard 5HP Repair Manual 2-cycle Snow Blower Repair.Briggs And Stratton Repair Manual 270962 .pdf - Free download Ebook, Handbook, Textbook, User Guide PDF files on the internet quickly and easily.. 23.06.2017 · Hi guys I have a old locke mower ,and im looking for a repair manual, its a 8hp , model 200451-0175. thank you. Briggs & Stratton is the world's largest manufacturer of small air-cooled Reference this repair manual by engine model series guide to find the right one..
This Genuine Briggs & Stratton Service Manual has specifications, diagrams and instructions and covers all Briggs & Stratton engines from 1919 to 1981. B&S - CE8069 Vanguard™ Repair Manual for 3/LC Repair Manual, Gasoline/Diesel.. Related: Briggs & Stratton Single Cylinder L-Head Engine Service Repair Manual INSTANT DOWNLOAD L-Head Engine Service Repair Manual INSTANT DOWNLOAD Complete professional technical service and repair manual written for your Briggs & Stratton Single Cylinder L-Head Engine.. Download Repair Manual For Briggs And Stratton 10d902 Repair Manuals Repair Manuals Obtaining Support Documentation. TOPIC CATEGORIES. Customer Support.
briggs & stratton 1-cylinder ohv engine 2008+ workshop service repair manual please see the sample page on preview for quality of the manual and buy with confidence..
8274 Warn Winch Wiring Diagram
Briggs-Stratton model 10T802-1238-B1 engine genuine parts
Briggs-Stratton model 10T802-1238-B1 engine genuine parts
85 Chevrolet S10 Wiring Diagram
Illustrated Parts List 10T800 Model Series | manualzz.com
Illustrated Parts List 10T800 Model Series | manualzz.com
8 Factory Service Work Shop Manual Download
WRG-8538] Briggs And Stratton Repair Manual For 10t802 | 2019 Ebook ... 550E Series. 550E Series™ 550E Series. Briggs And Stratton Repair Manual For 10t802 ...
WRG-8538] Briggs And Stratton Repair Manual For 10t802 | 2019 Ebook ... 550E Series. 550E Series™ 550E Series. Briggs And Stratton Repair Manual For 10t802 ...
84 Camaro Fuse Box Diagram
Briggs and Stratton 10T802-1059-B1 Parts Diagram for Carburetor ... Zoom + -
Briggs and Stratton 10T802-1059-B1 Parts Diagram for Carburetor ... Zoom + -
Securely Verified