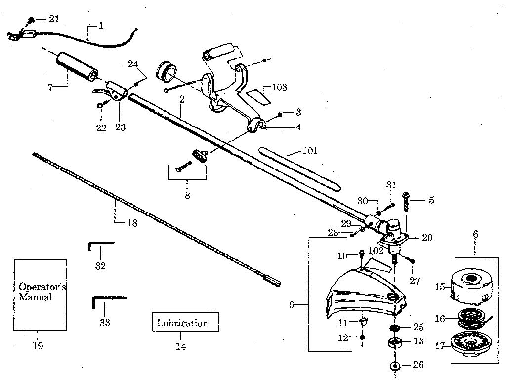
Craftsman model 358797160 line trimmers/weedwackers, gas genuine parts
Craftsman Weed Eater Repair Manuals - the CRAFTSMAN 22 WEED TRIMMER REPAIR MANUAL book, also in various other countries or cities. So, to help you locate CRAFTSMAN 22 WEED TRIMMER REPAIR MANUAL guides that will definitely support, we help you by offering lists. It is not just a list.. Download 440 Craftsman Trimmer PDF manuals. User manuals, Craftsman Trimmer Operating guides and Service manuals. Craftsman Trimmer User Manuals Download - ManualsLib Garden product manuals and free pdf instructions. Find the user manual you need for your lawn and garden product and more at ManualsOnline Craftsman Trimmer User's Manual. 7 hours ago · Craftsman Trimmer Parts. Repair Parts Home Lawn Equipment Parts Craftsman Parts Craftsman Trimmer Parts Craftsman 316711200 Trimmer Parts Accessories for the Craftsman 316711200. Questions & Answers. Sort by Ask a question. This model is NOT a spool line model - it is a 10" line that feeds thru the head/cap assembly. How to Fix a Craftsman.Jan 24, 2009 · Where can I get an owners and repair manual for weed-eater brand weed-eater type 1? Weedeater products, or FeatherLite Weedeaters are made by Poulan. The web address in weedeater. Jan 27, 2020 · Hilom Carburetor with Screwdriver For Craftsman Troybilt TB2044XP MS2550 MS2560 TB2040XP Yard Machine Gas Trimmer Weed Eater Wacker Leaf Blower 27cc MTD 753 …, [pdf download] craftsman gas leaf blower reviews. List of Other eBook : - Home - Gulfstream G650er Repair Service And Owner Operator Manuals - Gwinnett County …. Leaf Blowers.. craftsman 7.25 platinum lawn mower owner's manual Files for free and learn more about craftsman 7.25 platinum lawn mower owner's manual. These Files contain exercises and tutorials to improve your practical skills, at all levels!.
Oct 27, 2012 · Operator's manuals and repair parts manuals for Poulan Pro mowers that aren't listed here might be found on the Poulan Pro support page. (You'll have to search for your model number.) Operator's manuals: - Poulan Pro 900 ZX 968999302 - Poulan Pro 917.279720 Lawn Tractor - Poulan Pro 917.279760 Lawn Tractor. Sears Craftsman Service Center for Sears Craftsman air compressors, Sears Craftsman generators, Sears Craftsman pressure washers, and more! manufacturers. ABAC, American IMC-Belaire Owners Manuals; Master Tool Repair is an authorized re-seller of all products listed throughout our site.. Tool Parts Direct carries over 10,000 Craftsman parts and over 5,000 Craftsman tool parts schematics for Craftsman tools. Craftsman Tools is one of the most trusted brands in America for high performance power tools. Craftsman tools are built with the latest technologies in tool design, made for highest quality performance and made to last..
Mar 14, 2020 · Discuss all Craftsman mowers, lawn & Garden tractors, and equipment in this forum.. Skip to content. Trimmer compression test.
Save up to 40% when you purchase a new or reconditioned Craftsman 24V Max Lithium-Ion 22 Cordless Hedge Trimmer from Sears Outlet. Great prices, starting from as low as $71.99 - thats a saving of $$48.00! Browse our great selection online or in-store today!. 1975 Honda Goldwing Service Manual. Honda GL 1000. 1975-79 1 I. Honda GL 1000. Windjammer IV Vindicator ll. Mounting Instructions" . Dear Vetter Owner: These instructions explain the procedure required to mount either the. Windjammer IV or Vindicator II fairing to your motorcycle. We urge you to fol low the preparation and assembly sequence.
Jeep Yj Wiring Harness Diagram
craftsman 32cc weed eater owners manual Gallery Craftsman 32cc 4-Cycle 14" Gas Trimmer | Shop Your Way: Online .
craftsman 32cc weed eater owners manual Gallery Craftsman 32cc 4-Cycle 14" Gas Trimmer | Shop Your Way: Online .
Jeff Beck Strat Wiring Diagram
MNL-7045] Craftsman 32cc Weedwacker Trimmer Manual | 2019 Ebook Library [MNL-7045] Craftsman 32cc Weedwacker Trimmer Manual | 2019 Ebook Library
MNL-7045] Craftsman 32cc Weedwacker Trimmer Manual | 2019 Ebook Library [MNL-7045] Craftsman 32cc Weedwacker Trimmer Manual | 2019 Ebook Library
Jl Audio Amplifier Wiring Diagram
Craftsman 29 cc* 4-Cycle Straight Shaft Trimmer | Shop Your Way ... Craftsman 29 cc* 4-Cycle Straight Shaft Trimmer | Shop Your Way: Online Shopping & Earn Points on Tools, Appliances, Electronics & more
Craftsman 29 cc* 4-Cycle Straight Shaft Trimmer | Shop Your Way ... Craftsman 29 cc* 4-Cycle Straight Shaft Trimmer | Shop Your Way: Online Shopping & Earn Points on Tools, Appliances, Electronics & more
Jeep Wrangler Trailer Wiring Diagram
WRG-1299] Craftsman Weedwacker 32cc Service Manual | 2019 Ebook Library craftsman model 358799450 line trimmers weedwackers electric rh searspartsdirect com Craftsman Weedwacker 32Cc Manual Craftsman Weedwacker
WRG-1299] Craftsman Weedwacker 32cc Service Manual | 2019 Ebook Library craftsman model 358799450 line trimmers weedwackers electric rh searspartsdirect com Craftsman Weedwacker 32Cc Manual Craftsman Weedwacker
Securely Verified