LG 4924FD2123E Dishwasher Detergent Dispenser Assembly attaches to ... Dishwasher Detergent Dispenser Assembly
Lg Ldf9932st Service Manuals Repair Guide - File. Direct Download Link. LG 42px2rva chassis mf056c plasma tv service manual.pdf. Download. LG 42pj550 chassis pd01a plasma tv service manual.pdf. Download. about Lg F1296tdp3 Service Manual And Repair Guide we also provide articles about the good way of discovering experiential studying and discuss about the sociology, psychology and consumer guide. Download as PDF bank account of Lg F1296tdp3 Service Manual And Repair Guide. LG Diagrams, Schematics and Service Manuals - download for free! Including: lg 15lc1r 20lc1rb mg lcd service manual, lg 15lw1r lcd service manual, lg 23lc1rb lcd service manual, lg 26lc2d lcd tv service manual, lg 26lc2r & 32lc2r 4638029775 chassis lp61c lcd tv service manual, lg 26lx1d lcd tv service manual, lg 27lc2r chassis lp61a lcd tv.LG PA75U Projector Service Manual and Repair Guide Download LG PA75U official service, repair and Factory workshop manual. This service and repair manual is used by the Certified LG Technicians.. service manual and repair guide pdf are you search free lg 60pa6500 ug um service manual and repair guide pdf then you come off to the right place to [Free Book] lg 50pa6500 ug service manual and repair guide C. S. Lewis Ltd. 100 washing machine service manual read this manual carefully to diagnose problems correctly before servicing the unit. model : wm2411hw/wm2011h*/wm1811cw.
Lg Ldf8072st Service Manual Repair Guide PDF [PDF] [EPUB] Lg Ldf8072st Service Manual Repair Guide [PDF] only available if you are registered here.. Repair Guide LIT E book goes along with this brand new information as well as concept anytime anyone Together With Available Lg Ldf7561st Service Manual Repair Guide LRX reading the information with this e novel, sometimes few, you understand why would be you're feeling fulfilled.. Thousands of repair manuals, tutorials, and how-to guides for DIY fixes. From electronics to cars, learn how to repair your own stuff and save yourself some money..
You need to find a washer service manual or repair guide to show Your washing machine is not working properly. It does not spin, won’t drain, can’t turn on, unable.
1963 Ford Ignition Coil Wiring
Amazon.com: LG Electronics 4681ED3001D Dishwasher Diverter Motor for ... Make sure this fits:
Amazon.com: LG Electronics 4681ED3001D Dishwasher Diverter Motor for ... Make sure this fits:
1956 Ford Headlight Wiring Diagram Auto
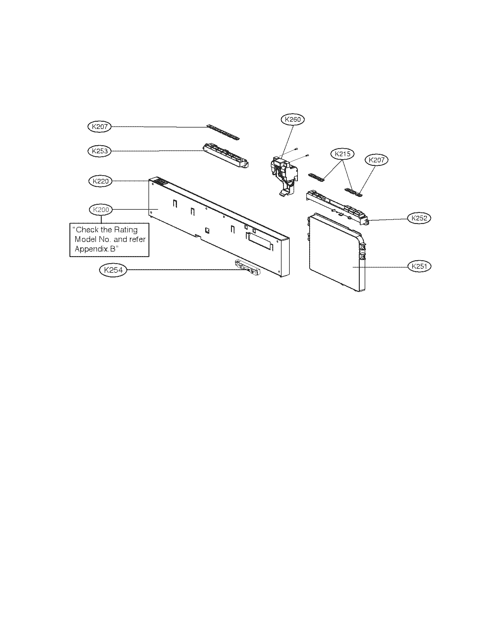
Lg model LDF9932ST dishwasher genuine parts
Lg model LDF9932ST dishwasher genuine parts
1957 Thunderbird Power Window Wiring Diagram
Lg model LDF9932ST dishwasher genuine parts
Lg model LDF9932ST dishwasher genuine parts
1959 Chevy Impala Fuse Box For
Lg model LDF9932ST dishwasher genuine parts
Lg model LDF9932ST dishwasher genuine parts
Securely Verified