Thermador model MCES01 built-in microwave oven genuine parts
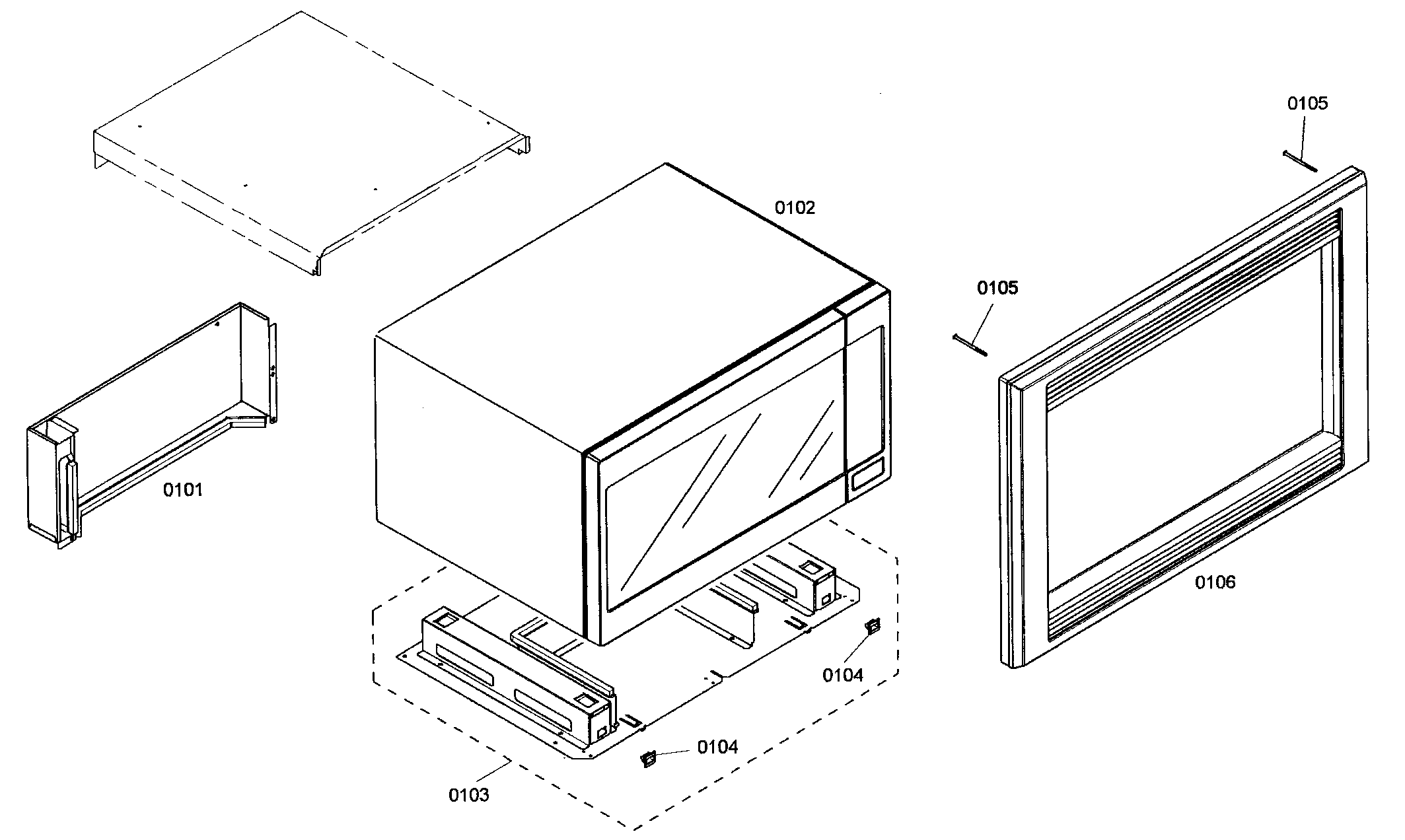
Thermador Mbes Microwave Wiring Diagram - Thermador parts diagrams furthermore cla wiring diagram as well as parts for thermador msc224s moreover parts for thermador rdss30 s n 9707 up further georgetown wiring diagram together with cmt discovery plus 2500 wiring diagram also appliance furthermore thermador microwave replacement parts along with ge cafe refrigerator parts diagram along with heil replacement parts furthermore gas. Thermador Oven Wiring Diagram Posted by Brenda Botha in Diagram You can also find other images like wiring diagram, parts diagram, replacement parts, electrical diagram, repair manuals, engine diagram, engine scheme, wiring harness, fuse box, vacuum diagram, timing belt, timing chain, brakes diagram, transmission diagram, and engine problems.. Thermador Stove • Thermador Range Wiring Diagram Explore Schematic • Thermador Cmt21 Bination Oven Timer Stove Clock Appliance • 23 Elegant Kenmore Electric Range Wiring Diagram Slavutard • Thermador Home Appliance Blog Vintage Kitchen Innovation • Diagram Oven Wiring Frigidaire Lgef3045kfe House • Thermador Stove Wiring Diagram.SERVICE MANUAL. for Thermador Masterpiece Series Built-in Wall Ovens This manual contains information that is necessary for servicing the following Thermador electric built-in wall. Thermador Microwave Parts List WIRING Diagram and Parts List for THERMADOR Microwave-Parts model # MCEB01. I Own This. Add this model to "My Models" for easy Professional Series Pro Thermador MBES. Built-in Traditional Microwave. Available 2-3 Join our Email List. Subscribe.. Thermador PDR366 Pdf User Manuals. View online or download Thermador PDR366 Care And Use Manual, Service Manual.
Training. Manual. Thermador Glass Ceramic Cooktops . CEM304, CEM365, CEM456 ; Use & Care . Guide . CM Series Oven Training Program . Training . Manual . BSH. Thermador Oven Wiring Schematic WIRING DIAGRAM Diagram and Parts List for THERMADOR WIRING DIAGRAM diagram for model # CT227 Thermador-Parts Wall-Oven-Parts (7). Full Size. WIRING DIAGRAM Ignition Switch Wiring Diagram. Microwave Oven Wiring Diagram. Rocket Stove Mass Heater Plans. Created with Snap. Thermador Dual Fuel RangeView.. Am trying to locate a Thermador junk yard or source to find cannibilized parts from old units that were torn out, broken, etc. Operationally works fine, just hanfle to open microwave door cracked in 2 pieces years ago, so only a half broXXXXX XXXXXdle is on the oven right now..
Note: Some window air conditioners, dehumidifiers, compact refrigerators, and small countertop microwaves do not have wiring diagrams. If you cannot locate your wiring diagram, you can call the Appliances Answer Center with your complete model number. The diagram may be mailed or e-mailed. You can reach us by dialing 1-800-626-2005.. Appliance Parts: Parts Lists, Exploded View Schematic and Wiring Diagrams. We have compiled a list of those manufacturers or other source that make available major home appliance parts lists and exploded view diagrams available on-line. Use the appropriate link to find out if that information is available on-line for your major home appliance.. Search Kelly’s popular Home Improvement questions. Read through detailed answers from Kelly, a verified Expert here on JustAnswer..
Thermador Oven Parts List Find part in diagram THERMADOR Built-In Oven, Electric Model # SC301T. THERMADOR Built-In Oven, Electric Oven Assembly parts.. Appliance/Fitness Parts Return for Repair Services Electronic Appliance/Fitness Part Repair For NLA parts, and parts that are delayed, the easy answer is CoreCentric Solutions Return for Repair (RFR) process that breathes new life into older controls..
Ramsey Winch Motor Wiring Diagram
Built in Microwaves - August 2013 Bosch 26 2.1 cu. ft. Built-In Microwave Oven White
Built in Microwaves - August 2013 Bosch 26 2.1 cu. ft. Built-In Microwave Oven White
Rearview Mirror Wiring Diagram Tv
for Thermador Masterpiece J-Series Built-in Wall Ovens | manualzz.com
for Thermador Masterpiece J-Series Built-in Wall Ovens | manualzz.com
Rear Windshield Wiper Motor Wiring Diagram
Page 4 of Thermador Microwave Oven MD24JS User Guide | ManualsOnline.com BUILT-IN MICROWAVES
Page 4 of Thermador Microwave Oven MD24JS User Guide | ManualsOnline.com BUILT-IN MICROWAVES
Rca To Rj45 Wiring Diagram
Built In Oven new: Thermador Built In Oven Thermador Built In Oven Images
Built In Oven new: Thermador Built In Oven Thermador Built In Oven Images
Securely Verified